Wiring Diagram

Wiring Diagram For Cub Cadet 149


Learn the basics of electrical wiring for the home, including wire and cable types, wire color codes and labeling, and essential wiring Electrical wiring is an electrical installation of cabling and associated devices such as switches, distribution boards, sockets, and


Conquer your fear of working with electrical wiring BY understanding the basics of electrical work and installing 3-switch wiring. Play it Want to learn the basics of home electrical wiring? This guide covers everything in this regard, including wire sizing, safety, color


Related Posts of Wiring Diagram For Cub Cadet 149 :


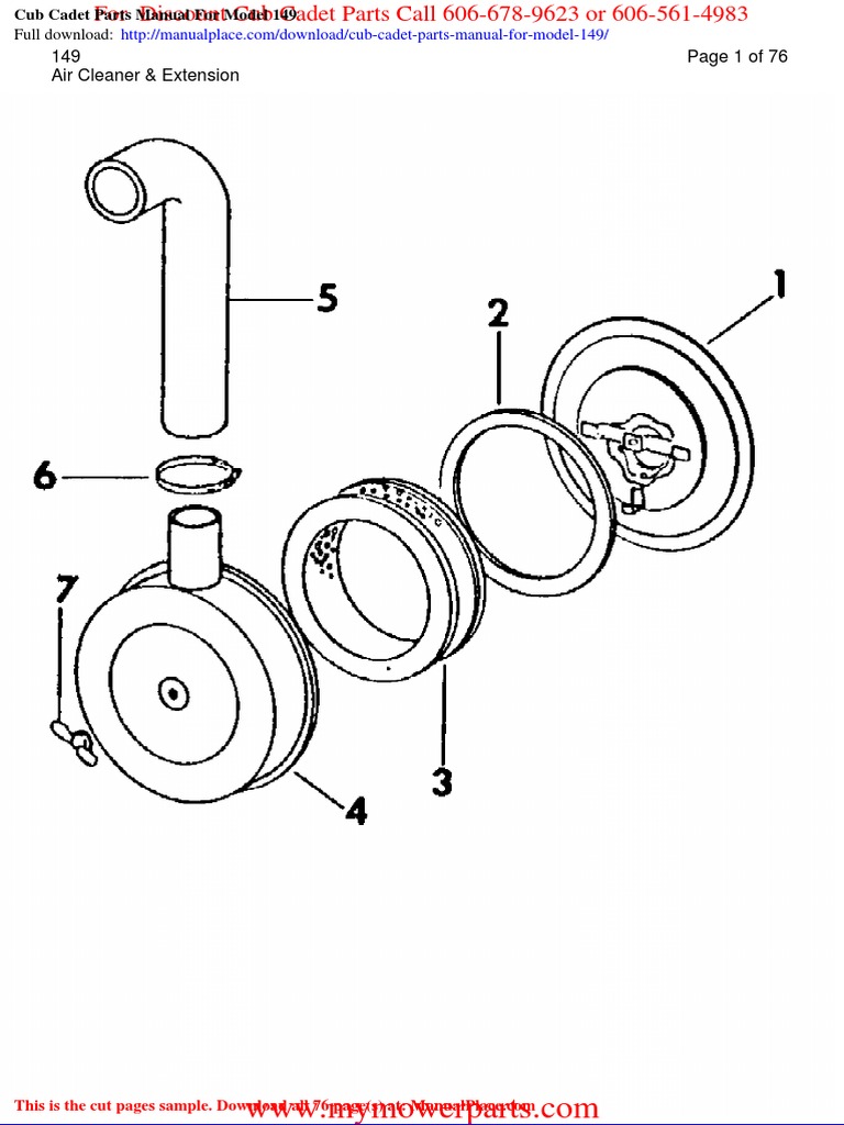
Cub Cadet Parts Manual For Model 149 PDF Components Vehicles

cub cadet wiring diagrams Wiring Diagram

Cub Cadet Wiring Diagram Xt1

Cub Cadet 149 Wiring Diagram Database

Cub Cadet 149 Wiring Diagram Database

Cub Cadet Wiring Diagram Series 2000 Wiring Diagram


55+ Images of Wiring Diagram For Cub Cadet 149

Cub Cadet Ignition Wiring Diagram

Learn the basics of electrical wiring for the home, including wire and cable types, wire color codes and labeling, and essential wiring


Electrical wiring is an electrical installation of cabling and associated devices such as switches, distribution boards, sockets, and


Conquer your fear of working with electrical wiring BY understanding the basics of electrical work and installing 3-switch wiring. Play it


Want to learn the basics of home electrical wiring? This guide covers everything in this regard, including wire sizing, safety, color


Our guide will walk you through the essentials of home electrical wiring, from planning and installation to safety



Gallery of Wiring Diagram For Cub Cadet 149 :

Cub Cadet Tank Wiring Diagram

Cub Cadet Original Wiring Diagram

Understanding Your Cub Cadet Wiring Diagram Moo Wiring

Cub Cadet 782 Wiring Diagram

Cub Cadet 782 Wiring Diagram

Cub Cadet Lawn Tractor Wiring Diagram

Cub Cadet Lawn Tractor Wiring Diagram

Cub Cadet 1440 Wiring Diagram Wiring Diagram Pictures

Cub Cadet Ignition Switch Wiring Diagram Guide

Cub Cadet 129 Wiring Diagram Wiring Diagram Pictures

Cub Cadet Wiring Diagram Ignition Warning Light Wiring

The Ultimate Guide to Understanding Cub Cadet Voltage Regulator Wiring

Unveiling the Wiring Diagram for Cub Cadet 1450

Complete Guide to Understanding the Cub Cadet GT1554 Wiring Diagram

Cub Cadet Solenoid Wiring

Cub Cadet 149 Parts Breakdown

Cub Cadet 149 Parts Breakdown

Cub Cadet 149 Parts Breakdown

Cub Cadet 149 Parts Breakdown

Cub Cadet 149 Parts Breakdown

The Definitive Guide to Cub Cadet Voltage Regulator Wiring Diagram

Complete Guide to Understanding the Cub Cadet GT1554 Wiring Diagram

Cub Cadet Solenoid Wiring

Cub Cadet 149 Parts Breakdown

Cub Cadet 149 Parts Breakdown

Cub Cadet 149 Parts Breakdown

Cub Cadet 149 Parts Breakdown

Cub Cadet 149 Parts Breakdown

Cub Cadet 149 Parts Breakdown

Cub Cadet 149 Parts Breakdown

Electrical Schematic for Cub Cadet 147

A detailed guide to wiring a cub cadet zero turn mower

Troubleshooting Guide How to Replace a Cub Cadet 147 Wiring Harness

Troubleshooting Cub Cadet Solenoid Wiring Tips and Tricks

147 Cub Cadet Wiring Diagram Craftsify

Understanding the Cub Cadet Ignition Switch Diagram and Function

Cub Cadet 149 Question Garden Tractor Forums

Wiring Diagram For A Cub Cadet

Cub Cadet 149 tractor full specifications and information

Cub Cadet Parts Manual For Model 149

Cub Cadet Parts Manual For Model 149

Cub Cadet Parts Manual For Model 149

Cub Cadet Parts Manual For Model 149

Cub Cadet Parts Manual For Model 149

Cub Cadet Model 127 Wiring Diagram Cub Cadet Faq

International Cub Cadet 149 Tractor Parts Manual

Cub Cadet Wiring Diagrams Cub Cadet 129 Wiring Diagram

The Ultimate Guide to Understanding the Cub Cadet Electrical Schematic

Troubleshooting Guide How to Replace a Cub Cadet 147 Wiring Harness

Troubleshooting Cub Cadet Solenoid Wiring Tips and Tricks

147 Cub Cadet Wiring Diagram Craftsify

Understanding the Cub Cadet Ignition Switch Diagram and Function

Cub Cadet 149 Question Garden Tractor Forums

Wiring Diagram For A Cub Cadet

Cub Cadet 149 tractor full specifications and information

Cub Cadet Parts Manual For Model 149

Cub Cadet Parts Manual For Model 149

Cub Cadet Parts Manual For Model 149

Cub Cadet Parts Manual For Model 149

Cub Cadet Parts Manual For Model 149

Cub Cadet Model 127 Wiring Diagram Cub Cadet Faq

International Cub Cadet 149 Tractor Parts Manual

Cub Cadet Wiring Diagrams Cub Cadet 129 Wiring Diagram

Cub Cadet Schematics

The Ultimate Guide to Understanding the Cub Cadet Electrical Schematic

The Ultimate Guide to Understanding the Cub Cadet Electrical Schematic

Cub Cadet 1450 Ignition Switch Diagram 6 Pin Ignition Switch

Cub Cadet FAQ

Cub Cadet FAQ

Cub Cadet FAQ

Cub Cadet FAQ

Cub Cadet FAQ

Cub Cadet FAQ

Cub Cadet FAQ

Cub Cadet 149 Parts YouTube

Cub Cadet Wiring Harness fits Model 128 129 149 169 w Main amp Light

Wiring Diagram For Cub Cadet 149 - The pictures related to be able to Wiring Diagram For Cub Cadet 149 in the following paragraphs, hopefully they will can be useful and will increase your knowledge. Appreciate you for making the effort to be able to visit our website and even read our articles. Cya ~.

RSS Feed | Sitemaps
Copyright © 2025. By https://morningwiring.biz.id

close